
MIL-DTL-16377J(SH)
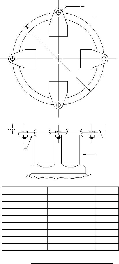
13 DIA. HOLE IN SHOCKMOUNT
32
MOUNTING BOLTS SHALL
3
BE 8-16
"A"
SHOCKMOUNT
MOUNTING PLATE
TYPICAL LIGHTING
FIXTURE
"A" DIA.
Specification
Symbol
7
MIL-F-16377/20
64.1 and 65
7
MIL-F-16377/21
89 and 90.2
7
MIL-F-16377/22
94.1
7
MIL-F-16377/23
57, 57.1, 69, and 69.1
MIL-F-16377/24
66.2
11¼
7
MIL-F-16377/25
48.2 and 68.2
7
MIL-DTL-16377/26
112 and 113
7
MIL-F-16377/64
67
FIGURE 28. Mounting dimensions for incandescent fixtures.
54
For Parts Inquires call Parts Hangar, Inc (727) 493-0744
© Copyright 2015 Integrated Publishing, Inc.
A Service Disabled Veteran Owned Small Business