
MIL-DTL-3661D
1.250
APPROX.
R .093
.267
.138
.074 ±.001
.249 ±.002
.027 ±.001
.587
.187
±.002
R .032
MATERIAL: BRASS, ASTM B121/B121M.
"J" PIN
SH9016
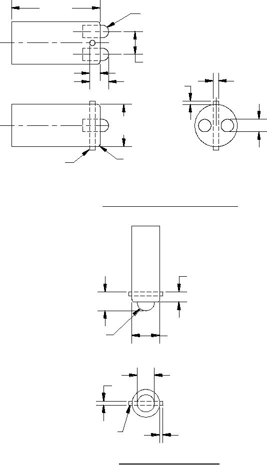
FIGURE 3. Double contact candelabra bayonet test plug.
.095 ±.005
.180 ±.001
R .109
.354 ±.001
Ø.187
Ø.067
"J" PIN
.027
SH9017
FIGURE 4. Miniature bayonet base test plug.
19
For Parts Inquires call Parts Hangar, Inc (727) 493-0744
© Copyright 2015 Integrated Publishing, Inc.
A Service Disabled Veteran Owned Small Business