
MIL-DTL-16377/7B(SH)
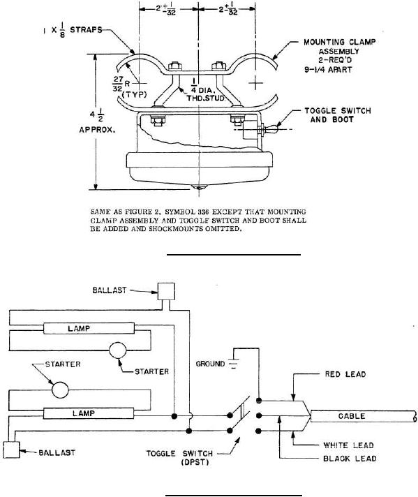
FIGURE 4. Typical section for symbol 78.2.
FIGURE 5. Wiring diagram for symbol 78.2.
3
For Parts Inquires call Parts Hangar, Inc (727) 493-0744
© Copyright 2015 Integrated Publishing, Inc.
A Service Disabled Veteran Owned Small Business