
MIL-DTL-16377/27C(SH)
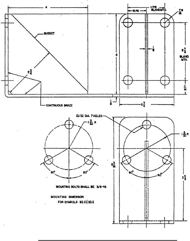
FIGURE 10. Mounting dimensions and bracket for bulkhead mounting (metal bracket only).
8
For Parts Inquires call Parts Hangar, Inc (727) 493-0744
© Copyright 2015 Integrated Publishing, Inc.
A Service Disabled Veteran Owned Small Business